


RECBUTIN RECTAL KREM 30 G
Ruscotenin + Trimebutin
Firma
Abdi İbrahim İlaç Sanayi ve Ticaret A.Ş.
ATC Kodu
C05AX03
Barkod
8699514420019
Reçete Türü
Normal reçete
Etkin Madde
Ruscotenin + Trimebutin
Etkin Madde Miktarı
5+58 MG/G
Ambalaj
30
En Düşük Fiyat
152,62 TL
Ne için kullanılır
RECBUTİN 30g.’lık alüminyum tüplerde kanül ile birlikte takdim edilen beyaz veya sarımsı beyaz renkte, homojen görünüşlü, gözle görülür kirlilik içermeyen kremdir.
Etken madde olarak ruskogenin ve trimebutin içerir.
Anal (makat) bölgedeki hemoroid (basur), çatlak ve ithaplı hastalıklarda ve ağrı, kaşıntı ve şişkinlik hissi gibi bulgularla seyreden anal bölgenin diğer hastalıklarında kullanılır.
Kullanım
RECBUTİN makat bölgesine kullanım için uygundur.
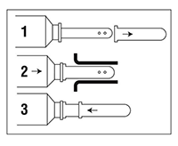
- RECBUTİN rektal krem’ i, iç hemoroidlerin tedavisinde, yanında bulunan kanülle (kanül tüpe takılır) uygulayınız.
- Kullanmadan önce koruyucu kapağı çıkarınız.
- Kullanıldıktan sonra kapağını kapatınız.
- RECBUTİN rektal krem’i yutmayınız.
- Gözler ile temasından kaçınınız.
Genel olarak, günde bir veya iki kez makat bölgesine uygulanır.
Yan etkiler
Tüm ilaçlar gibi RECBUTİN’in içeriğinde bulunan maddelere duyarlı olan kişilerde yan etkiler olabilir.
RECBUTİN kullanımı ile duyarlılık reaksiyonu meydana gelirse, tedavi kesilmeli ve uygun tedavi uygulanmalıdır. Çok uzun süre kullanıldığında sistemik toksik tesirler görülebilir.
Yan etkiler aşağıdaki kategorilerde gösterildiği şekilde sıralanmıştır.
- Çok yaygın : 10 hastanın en az 1 inde görülebilir.
- Yaygın : 10 hastanın birinden az, fakat 100 hastanın birinden fazla görülebilir.
- Yaygın olmayan : 100 hastanın birinden az, fakat 1000 hastanın birinden fazla görülebilir.
- Seyrek : 1.000 hastanın birinden az, fakat 10.000 hastanın birinden fazla görülebilir.
- Çok seyrek : 10.000 hastanın birinden az görülebilir.
- Bilinmeyen : Eldeki verilerden hareketle tahmin edilemiyor.
Bilinmeyen:
- Uygulama bölgesinde hassasiyet, kızarıklık, kaşıntı, baş dönmesi, bayılma
Eğer bu kullanma talimatında bahsi geçmeyen herhangi bir yan etki ile karşılaşırsanız, doktorunuzu veya eczacınızı bilgilendiriniz.
Etkileşimler
RECBUTİN’in herhangi bir ilaçla etkileşimde bulunduğuna dair çalışma mevcut değildir.
Eğer reçeteli ya da reçetesiz herhangi bir ilacı şu anda kullanıyorsanız veya son zamanlarda kullandınız ise, lütfen doktorunuza veya eczacınıza bunlar hakkında bilgi veriniz.
Gebelik
İlacı kullanmadan önce doktorunuza veya eczacınıza danışınız.
RECBUTİN gerekli olmadıkça gebelik döneminde kullanılmamalıdır.
Tedaviniz sırasında hamile olduğunuzu fark ederseniz, hemen doktorunuza veya eczacınıza danışınız.
Emzirme
İlacı kullanmadan önce doktorunuza veya eczacınıza danışınız.
RECBUTİN emzirme döneminde kullanılabilir.
Çocuk
Yaşlı
Yaşlılardaki (65 yaş ve üzeri) kullanım için yeterli veri mevcut değildir.
Paket ve Satış Bilgileri
Piyasadaki kutu seçenekleri, barkod ve fiyat bilgileri masaüstü ve mobil için düzenli biçimde gösterilir.
RECBUTIN RECTAL KREM 30 G
Piyasada
| Ürün adı | Kutu içeriği | Reçete | E-reçete | Barkod | Fiyat |
|---|---|---|---|---|---|
RECBUTIN RECTAL KREM 30 G Piyasada | 30 | Normal reçete | Evet | 8699514420019 | 152,62 TL |
İlaç Değişim Geçmişi
Resmî listelerde yayımlanan son değişiklikler zaman sırasıyla listelenir.
Listeye eklendi
21 Nis 2026
AKTİF ÜRÜNLER LİSTESİ
Barkod: 8699514420019
Eşdeğer İlaçlar
Aynı ATC kodu altında yer alan benzer ürünler bir arada listelenir.
Aynı Etken Maddeye Sahip İlaçlar
Etken madde eşleşmesine göre listelenen ilaçlar.
Kullanıcı Yorumları
Yorum yapmak için giriş yapmanız gerekir. Yanıtlar tek seviye ile sınırlandırılmıştır.
Kullanıcı yorumları
0 yorum
Yorumlar yükleniyor...
Önemli Uyarı
Bu sayfadaki bilgiler bilgilendirme amaçlıdır. Tedaviye başlama, doz değiştirme veya ilacı bırakma kararı için doktorunuza ya da eczacınıza danışınız.
